板框壓濾式泥漿脫水機是工業生產中的實現泥漿固液分離的一種脫水設備,其作用是將污水處理后的淤泥進行壓濾,形成大塊濾餅(泥餅),以便排除。板框壓濾機由壓濾機濾板、液壓系統、壓濾機框、濾板傳輸系統和電氣系統等五大部分組成。
板框壓濾機工作運行的原理比較簡單,先由液壓施力壓緊板框組,沉淀的淤泥由中間進入,分布到各濾布之間。主要應用于化工、陶瓷、石油、冶煉、污水處理等行業。板框壓濾式泥漿脫水機一直以來,以操作維護方便,運行安全可靠,處理后的泥餅有更高的含固率及優良的分離效果而受到眾多行業客戶的青睞。

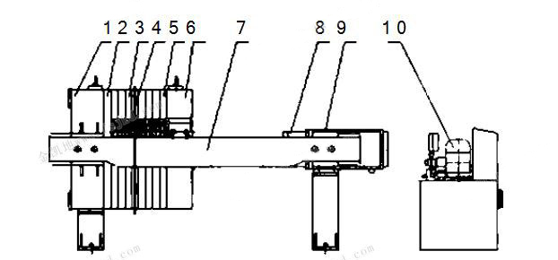
1、止推板 2、頭板 3、濾板 4、濾布 5、尾板 6、壓緊板 7、播梁 8、液壓缸 9、液壓缸座 10、液壓站
在運行中板框持續壓緊,中間的水從淤泥介質中滲出流走,由于壓力較大的緣故,板塊本身和濾布易出現損壞或堵塞。另外,由于油漬污泥的沾染,運輸系統也常常會卡澀或行走不穩。在這里呢,金凱地針對板框壓濾式泥漿脫水機運行時可能出現的問題給大家做一下分析。
一、板塊本身的損壞
造成板塊本身損壞的原因有:
1、當污泥過稠或干塊遺留時,就會造成供料口的堵塞,此時濾板間沒有了介質只剩下液壓系統本身的壓力,此時板塊本身由于長時間受壓極易造成損壞。
2、供料不足或供料中含有不合適的固體顆粒時,同樣會造成板框本身受力過多以至于損壞。
3、如果流出口被固體堵塞或啟動時關閉了供料閥或出閥,壓力無處外泄,以至于造成損壞。
4、濾板清理不凈時,有時會造成介質外泄,一旦外泄,板框邊緣就會被沖刷出一道一道的小溝來,介質的大量外泄造成壓力無法升高,泥餅無法形成。
對應故障的排除的方法:
1、使用尼龍的清洗刮刀,除去進料口的泥
2 、完成這個周期,減少濾板容積
3、檢查濾布,清理排水口,檢查出口,打開相應閥門,釋放壓力
4 、仔細清理濾板,修復濾板
二、板框間滲水造成板框間滲水
原因主要有:
1、液壓低
2、濾布褶皺和濾布上有孔
3 、密封表面有塊狀物。
板框間滲水的處理方法比較簡單,只要相應的增加液壓、更換濾布或者使用尼龍刮刀清除密封表面的塊狀物就可以了。
三、形不成濾餅或濾餅不均勻
造成濾餅形不成或不均勻的原因有很多,供料不足或太稀,或者有堵塞現象都會引起這種現象。
針對這些故障要細細的排查原因,最終找到確切的問題所在,然后對癥施治解決問題。主要的解決辦法有:增加供料、調整工藝,改善供料、清理濾布或更換濾布、清理堵塞處、清理供料孔、清理排水孔、清理或更換濾布、增加壓力或泵功率、低壓啟動,不斷增壓等方法。
四、濾板行動遲緩或易掉
有的時候由于導向桿上油漬、污漬過多也會導致濾板行走遲緩,甚至會走偏掉下來。這個時候就要及時清理導向桿,并涂上黃油,保證其潤滑性。要注意的一點是嚴禁在導向桿上抹稀油,因為稀油易掉使下邊很滑,人員在這里操作檢修極易摔倒,造成人身傷害事故。
五、液壓系統的故障
板框壓濾機的液壓系統主要是提供壓力的,當油腔A 注油增多時活塞向左運動,壓迫濾板使之密閉。當油腔B 注油增多時活塞向右運動,濾板松開。由于制造精密, 液壓系統故障較少,只要注意日常維護就可以了。盡管如此,由于磨損的緣故,每過一年左右就會出現漏油現象,這時就要維修更換如圖所示的O 形密封圈。
常見的液壓故障還有壓力保持不住和液壓缸推進不合適。造成不能保持壓力的原因主要有漏油、O 形環磨損以及電磁閥不正常工作等,常用處理辦法是卸下并檢查閥門、更換O 形環、清洗檢查電磁閥或更換電磁閥。液壓缸推進不合適是顯然是空氣被封在內部了,這時只要系統抽氣就可以了,一般可以迅速解決。